浙商证券拟收购国都证券逾19%股份,若完成将成第一大股东

浙商证券股份有限公司(下称“浙商证券”,601878)拟受让国都证券股份有限公司(下称“国都证券”)19.1454%的股份。
12月8日晚间,浙商证券发布公告称,公司拟以现金方式,受让重庆国际信托股份有限公司、天津重信科技发展有限公司、重庆嘉鸿盛鑫商贸有限公司、深圳市远为投资有限公司、深圳中峻投资有限公司(下称“转让方”)分别持有的国都证券股份。
“本次交易尚处于初步筹划阶段,交易方案仍需进一步论证和协商。本次交易不构成关联交易,也不构成重大资产重组。”浙商证券进一步指出。
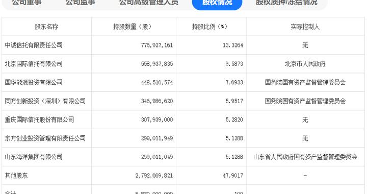
官网资料显示,国都证券目前无实际控制人,第一大股东为中诚信托有限责任公司,持股比例为13.3264%。如果本次交易完成,浙商证券将成为国都证券第一大股东。
此外,12月8日晚,同方股份有限公司(下称“同方股份”,600100)发布公告称,公司董事会审议通过了公司全资子公司同方创新投资(深圳)有限公司(下称“同方创投”)公开转让国都证券5.9517%的议案。有市场消息称,该部分股权或也将由浙商证券受让,若如此,浙商证券对国都证券持股比例将进一步达到25.0971%。
本次交易需全部满足7项条件
浙商证券公告显示,受限于框架协议和最终交易文件的约定,公司拟以现金方式受让转让方分别持有的目标公司5.2820%、4.7170%、3.7736%、3.3089%、2.0639%股份(以下简称“目标股份”,包括因目标公司拆股、送红股、资本公积转增股本等情形而增加的股份)及其所对应的所有股东权利和权益。具体受让方式、受让比例及交易价格以最终交易文件的约定为准。
交易的前提条件方面,公告显示,本次交易需全部满足7项条件,或被浙商证券书面豁免为前提。
具体而言,一是本次交易相关的审计、评估及评估备案工作已经完成(如涉及);二是各方已就本次交易履行完毕各自所需的内部决策程序;三是转让方在框架协议和最终交易文件项下应遵守或履行的承诺和义务均已得到遵守和履行;四是没有发生对目标公司的资产、人员、财务状况和正常经营产生重大不利影响的事件;五是转让方没有发生破产、清算、歇业、解散、重组或债务重整程序等对本次交易完成有重大不利影响的事项;六是目标股份不存在质押、冻结或其他任何影响目标股份转让的情形,为本次交易之目的进行的股份质押除外;七是各方于最终交易文件中约定的其他条件。
同时,公告指出,除正常生产经营活动或取得浙商证券事先书面同意进行的行为外,自框架协议签署之日起,转让方自身并应促使目标公司不得从事任何使目标公司资产和业务重大减值的行为。
对于本次交易的影响,浙商证券在公告中表示:“本次交易框架协议的签订符合公司战略规划,有利于公司优化资源配置,加强资源整合,发挥公司现有业务优势与国都证券业务协同效应,提升公司的竞争力,不存在损害公司及股东利益的情形。”
浙商证券强调,框架协议为各方就本次交易达成的初步意向,本次交易的具体方案及相关条款和条件以各方签署的最终交易文件和主管部门批准的方案为准。本次交易尚处于初步筹划阶段,交易方案仍需进一步论证和协商,交易存在不确定性。本次交易不构成关联交易,也不构成重大资产重组。
不过,浙商证券在公告中称,如浙商证券从全体转让方合计受让的拥有表决权、提名权等完整股东权利的目标公司股份比例未能达到15.8365%,则浙商证券有权不进行本次交易,且不承担任何责任。
此外,公告显示,如果浙商证券和转让方无法在2023年12月31日前或双方协商一致同意的其他日期前签署最终交易文件的,签署各方有权以书面形式通知对方解除框架协议。
对于本次收购,浙商证券相关负责人对澎湃新闻记者表示:“这次尝试跨区域合作,主要是希望更好地发挥公司现有业务优势与国都证券业务协同效应。公司致力于大力发展北交所业务,如果与国都证券进行深度合作,可以通过发挥双方各自优势,更好地联结长三角、京津冀区域各项资源,以实际行动助力北交所高质量发展。”
值得一提的是,12月8日晚,同方股份公告称,为进一步聚焦主业,收回非主业投资并合理配置资源,公司董事会同意全资子公司同方创投通过产权交易所公开挂牌方式,转让同方创投持有的国都证券5.9517%股权,首次挂牌价格不低于经备案后的评估价值,对应评估价值为8.93亿元。
国都证券2022年净利润同比减少57%
官网资料显示,国都证券是由国都证券有限责任公司整体变更而来。国都证券有限责任公司是经中国证监会批准,于2001年12月28日成立的综合性证券公司,成立时注册地为深圳市。2008年公司完成第一次增资扩股,注册资本由10.69亿元增至26.23亿元。2009年7月,公司注册地由深圳市迁至北京市东城区。
2015年6月23日,公司组织形式由有限责任公司整体变更为股份有限公司,正式更名为国都证券,注册资本为46亿元。2015年12月31日,公司再次增资扩股,注册资本增至53亿元。2017年3月31日,公司在新三板挂牌上市。截至2021年,公司注册资本为58.3亿元。
国都证券目前控股和参股的公司包括:中国国都(香港)金融控股有限公司、国都景瑞投资有限公司、国都创业投资有限责任公司、国都期货有限公司、中欧基金管理有限公司。
目前,国都证券没有实控人。公司第一大股东为中诚信托有限责任公司,持股比例为13.33%。持股比例在5%以上的股东,还包括北京国际信托有限公司、国华能源投资有限公司、同方金融控股(深圳)有限公司、重庆国际信托股份有限公司、东方创业投资管理有限责任公司、山东海洋集团有限公司,持股比例分别为9.59%、7.69%、5.95%、5.28%、5.13%、5.13%。
业绩方面,Wind资料显示,虽然近三年国都证券业绩基本保持稳定,但2022年业绩出现明显下滑。
具体而言,2020年至2022年,国都证券营业收入分别为17.69亿元、18.26亿元和9.38亿元,2022年营收同比(与前一年同期相较)下滑了48.62%;归属母公司股东的净利润(下称“净利润”)方面,2020年至2022年,分别为8.29亿元、8.32亿元和3.55亿元,2022年同比减少了57.35%。
2023年上半年,国都证券业绩同比出现大幅回暖。报告期内,营收为8.32亿元,同比增长50.16%;净利润为4.28亿元,同比增长90.30%。
