龙虎榜丨徐家汇今日涨停,机构合计净卖出201.11万元
来源: 界面2023-12-27

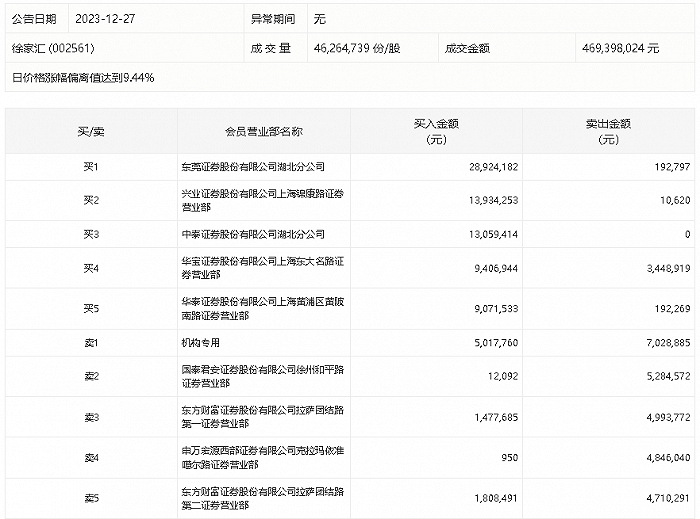
12月27日,徐家汇今日涨停,全天换手率达11.24%,振幅达12.54%。龙虎榜数据显示,营业部席位合计净买入5200.51万元。其中,机构买入501.78万元,卖出702.89万元,合计净卖出201.11万元。此外,东莞证券湖北分公司、兴业证券上海锦康路证券营业部分别买入2892.42万元、1393.43万元;国泰君安证券徐州和平路证券营业部、东方财富证券拉萨团结路第一证券营业部分别卖出528.46万元、499.38万元。
