【看新股】均胜电子赴港IPO:上半年利润同比上涨11.13%
2025年08月28日 11:00:10

近日,均胜电子再度向港交所递交招股说明书,中金公司、瑞银集团担任联席保荐人。公司曾于2025年1月首次递交聆讯资料。
均胜电子主营汽车电子、汽车安全领域的解决方案,2024年两项业务收入占比各约30.4%、69.2%。近年来,公司业绩出现波动,2024年营收同比持平、归母净利润下滑11.3%,与高额的财务费用、行政开支和研发费用等支出有关。
均胜电子A股近日发布2025年中报,上半年营收303.47亿元,同比增长12.07%;归母净利润7.08亿元,同比增长11.13%。
均胜电子于2011年在上交所上市,A股总市值约300亿元。本次募资公司计划用于进一步开发业务、改善制造能力等用途。
深耕汽车零部件细分领域,境外收入占比较大
均胜电子是智能汽车科技解决方案提供商,主要提供汽车零部件行业中汽车电子、汽车安全领域的产品和解决方案。根据弗若斯特沙利文的资料,按2024年收入计算,公司是中国和全球第二大汽车被动安全产品供货商。
公司的汽车安全解决方案主要提供安全气囊、安全带、智能方向盘和集成式安全解决方案,其他汽车部件主要包括座舱部件和电动车充配电系统。汽车电子解决方案主要包括汽车智能解决方案、新能源管理系统解决方案和人机交互产品。

图1:均胜电子产品类型
从收入结构来看,汽车安全解决方案是公司第一大收入来源,2024年该业务营收占比约69.2%,其中安全气囊和智能方向盘占总营收的45.4%。汽车电子解决方案约占总营收的三成,其中汽车智能解决方案的收入占比在持续提升。
地区方面,欧洲、中东和非洲占总收入的40%以上,中国、美洲地区约各占25%左右,亚洲其他地区占比在10%左右。
财务费用拖累业绩,负债率在同类偏高
从历史营收数据来看,均胜电子的业绩呈现一定的起伏,2024年的营收与2023年基本持平,收入为558.64亿元。盈利方面,2022-2024年期间,均胜电子归母净利润分别为3.94亿元、10.83亿元、9.60亿元,2024年下滑11.3%。

图2:均胜电子财务数据
分析发现,高额财务费用支出对盈利质量产生了较大影响。2022-2024年,公司财务费用合计分别为4.78亿元、8.9亿元、8.28亿元,占年度利润的比例分别约为204.7%、71.8%、62.4%。
截至2022年末、2023年末、2024年末及2025年4月底,均胜电子总负债分别为364.1亿元、377.6亿元、443.2亿元和468.1亿元,资产负债率分别为67.3%、66.4%、69.1%及69.8%,在同类公司中属于较高水平。
此外,公司的行政开支、研发费用的金额相对较大。
2022年至2024年以及2025年前四个月,公司行政开支分别为25.72亿元、29.22亿元、35.56亿元、11.23亿元,整体呈上涨趋势,各占当期收入的5.17%、5.24%、6.37%、5.7%。
同期,研发费用分别为21.39亿元、25.41亿元、25.85亿元、11.08亿元,各占当期收入的4.3%、4.56%、4.63%、5.62%。截至2025年4月30日,公司拥有6347名研发专业人员,占雇员总数的13.3%。
近三年,公司毛利率持续上升,由2022年的11.1%增加至2023年的14.5%,并于2024年进一步增加至16.2%。毛利率由截至2024年4月30日止四个月的15.5%增加至截至2025年4月30日止四个月的17.8%。
近日,均胜电子A股更新2025年中报数据,上半年营收303.47亿元,同比增长12.07%;归母净利润7.08亿元,同比增长11.13%。
A股市值约300亿元
均胜电子于2011年在上海证券交易所上市,上市后公司股价于2015年最高记录39.24元/股(前复权)。截至2025年8月26日收盘,均胜电子A股报收21.01元/股,总市值约300亿元。
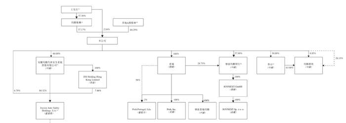
股权结构方面,截至招股书披露日,公司实控人王剑锋通过直接持股2.54%及均胜集团间接持股37.17%,合计控制39.71%股权。

图3:均胜电子股权结构
均胜电子此次赴港上市募集的资金,计划用于进一步开发及商业化汽车智能解决方案,包括座舱、驾驶和集成域控制器以及5G-A/5.5G智慧网联技术;用于集成汽车功率电子产品的开发和商业化;用于符合国家标准的新一代汽车大功率无线充电系统的开发和商业化,包括功率为11kW的壁端、接地端及车载端部件;用于改善生产制造能力及成本效益以及优化供应链管理;用于扩大海外业务市场占有率,并与整车厂客户合作实现海外扩展;用于潜在投资和并购机会;用于营运资金及一般企业用途。
【看新股】是由新华财经与面包财经共同打造的一档以新股和次新股解读为主要内容的栏目。新华财经是新华社承建的国家金融信息平台,全面覆盖全球股市、汇市和债市等金融市场,提供权威、专业、全面的金融信息服务。
(文章序列号:1959892227396341760/PLH)
免责声明:本文不构成对任何人的任何投资建议。知识产权声明:面包财经作品知识产权为上海妙探网络科技有限公司所有。